29 de diciembre de 2018 5:03 hs

El brazalete de control de Amazon

El calzado virtual de Google
 
El gigante de las búsquedas de internet registró una solicitud de patente para un calzado virtual, con un diseño similar a unos patines que le daría al usuario la sensación de estar caminando dentro de un entorno virtual. Sin embargo, en el mundo real los motores y las ruedas de los zapatos anularán ese movimiento. “Esto puede permitir al usuario caminar de manera aparente dentro del interminable entorno virtual, mientras que permanece quieto dentro de un espacio físico definido en el entorno físico”, se lee en la solicitud de patente.
 
Computadora sin teclado
 
 
 
La empresa de la manzana podría estar trabajando en una computadora que, en lugar de tener un teclado físico, tendría una pantalla táctil. La empresa registró la patente en marzo y lleva el nombre de “equipo con pantalla doble con mejorada visibilidad y reflejos suprimidos”. Tiene aspecto de una MacBook pero con una pantalla que sustituye el teclado. De hecho hay dos diseños: uno que sugiere una MacBook táctil y otro que presenta el mismo concepto pero con una pantalla-teclado extraíble.
 
Cámara escondida debajo de la pantalla
 
 
LG registró una patente que muestra la idea de un teléfono todo pantalla sin notch o mueca. La patente registrada muestra que la cámara y los sensores frontales son colocados debajo de la pantalla. Es una idea similar a lo que hizo Huawei con los sensores de huellas con su Mate 20 Pro o OnePlus con el OnePlus 6T. En concreto, LG presentó dos diseños, ambos con pantallas flexibles.
 
Mandos de consola para celulares
 
Debido a la importancia que tomaron los celulares especiales para videojuegos, Microsoft patentó en 2018 un control de Xbox para celulares y tabletas. El mando, que tendría la misma forma que uno corriente de su consola, se acoplaría a los dispositivos móviles para darle al usuario una experiencia de juego mucho más cómoda y completa. 
 
El robot patinete de Facebook
 
La red social más utilizada en el mundo patentó un extraño robot con tres llantas que tiene forma de patineta motorizada. A pesar de que no hay descripción de sus funciones, se sabe que las llantas están sujetas a un brazo principal en el que habría micrófonos, parlantes, pantallas y cámaras. Este robot podría usarse para expandir una videoconferencia o para tomar fotos y videos de forma autónoma.
 
 
 
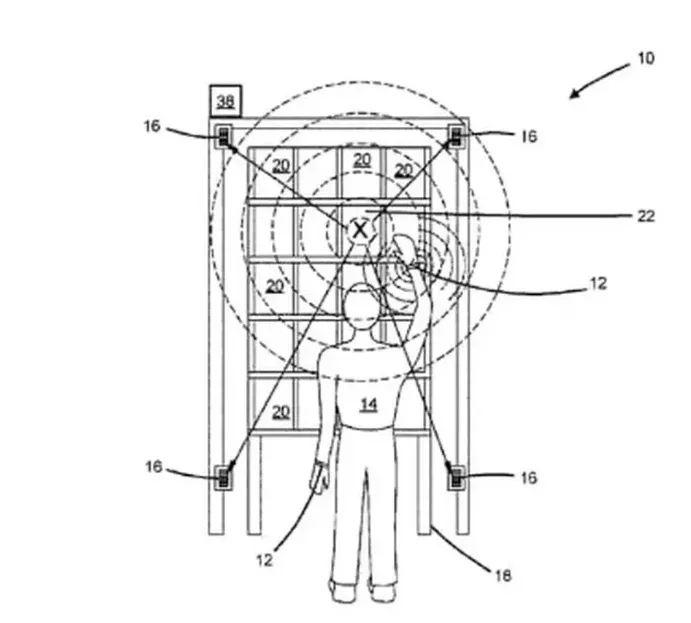
En febrero de 2018 el gigante del comercio electrónico patentó un dispositivo que no gustará demasiado a sus trabajadores si este da el salto a la vida real. Se trataba de un brazalete ultrasónico que tiene por objetivo ahorrar tiempo y mano de obra a la compañía al monitorizar a los trabajadores. Según el registro, el brazalete emitiría periódicamente impulsos de sonido ultrasónico al trabajador para conocer cuán eficientemente cumple las órdenes de sus superiores.

EO Clips

Te Puede Interesar

Más noticias de Argentina

Más noticias de España

Más noticias de Estados Unidos