Apple ha sido sinónimo de innovación durante décadas. Sin embargo, la muerte de su fundador e impulsor, Steve Jobs, sumado a la diversificación y expansión de Google y sus asociaciones con grandes compañías multinacionales como Samsung han mermado la capacidad de dejar boquiabierto al mundo con cada nuevo lanzamiento.
Tres nuevas patentes para Apple
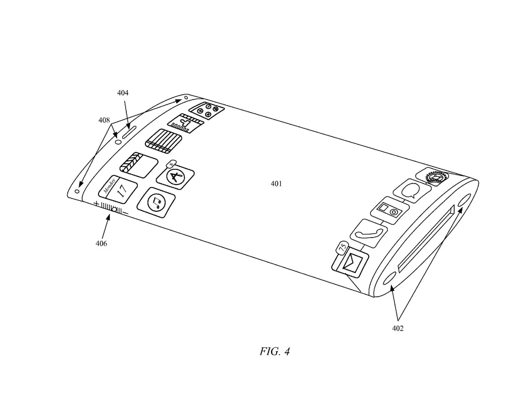
Esta semana se supo que la compañía registró un sistema de navegación al estilo de Street View, una pantalla envolvente para el iPhone y una Macbook con pantalla touch que se separa del teclado


