1 de abril de 2013 15:00 hs


La Oficina de Patentes y Marcas Registradas de Estados Unidos (USPTO, por su sigla en inglés) rechazó una petición de la compañía de Cupertino para patentar su iPad mini, según informaron el domingo sitios especializados en tecnología como CNet.

La USPTO informó de su decisión en una carta enviada a Apple en enero, en la que argumenta su rechazo en que el término "mini" es "meramente descriptivo".

Más noticias
Según esa oficina, "la marca" que Apple solicita patentar para tener su exclusividad comercial "se limita a describir una función o característica" y, por tanto, no crea "un significado único".
El término "mini" es "meramente descriptivo", explicó la USPTO al negar la patente del iPad mini a Apple

La compañía cofundada por el fallecido Steve Jobs todavía puede apelar la decisión de las autoridades estadounidenses.

El iPad mini fue presentado por Apple en octubre del año pasado. Se trata de una versión más pequeña, ligera y barata de su popular dispositivo, con prestaciones parecidas al iPad 2 y con el que quiso entrar en un mercado de tabletas de bolsillo dominado por el ecosistema Android de Google.

En tanto, la empresa californiana mantiene una batalla legal con la compañía surcoreana Samsung, su principal competidor, por mutuas acusaciones de violación de patentes en tribunales de una decena de países.

Una patente para el iPhone


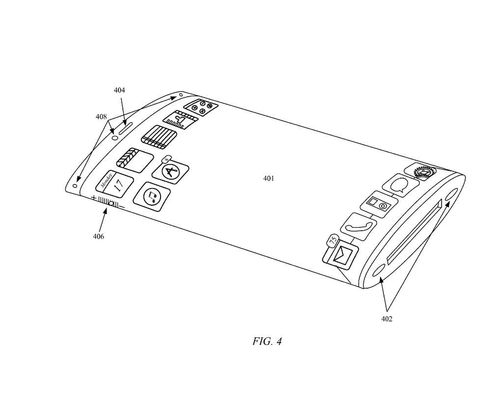
En paralelo, Apple busca conseguir la patente para un iPhone provisto de una pantalla que se extiende más allá de los bordes del aparato, lo que expandiría el área de visión y eliminaría todos los botones físicos.

La solicitud de esta patente revela que Apple ha pasado tiempo pensando en un nuevo dispositivo que se ponga en la vanguardia de la nueva generación de pantallas, que no tienen que ser planas ni rígidas como las actuales de cristal líquido (LCD). En una exposición de la industria en enero, su principal competidor Samsung presumió un prototipo de teléfono con una pantalla que se puede doblar por las orillas, y presentó "botones virtuales" que pueden pulsar los usuarios.

Los documentos de la patente de Apple muestran un teléfono que parece un tubo de vidrio aplanado, en el que una pantalla envuelve los chips y el tablero de circuitos del teléfono. Eso permite "la funcionalidad de extenderse a más de una superficie el aparato", dice el documento. El diseño también significa que no hay marco o engaste alrededor de la pantalla, lo que significa que esta ocupa más espacio que la superficie del aparato.

La compañía presentó los documentos para la patente en septiembre de 2011, aunque la solicitud se volvió pública el jueves. Al igual que otras empresas, Apple suele presentar documentos para patentes de diseños que nunca se concretan. Asimismo, no hace comentarios sobre futuros productos hasta que no están listos para su lanzamiento.

Recientemente, Apple también patentó un sistema para incorporar a su icónico smartphone, con el que se evitaría que el teléfono se rompa o se quiebre al caer, ya que lo haría siempre "parado".

EO Clips

Te Puede Interesar

Más noticias de Argentina

Más noticias de España

Más noticias de Estados Unidos