6 de diciembre de 2012 12:00 hs

Las esperanzas estaban puestas en el iPhone 5, pero el lanzamiento pasó y nadie hizo alusión a ninguna batería inalámbrica. Los Nokia Lumia 920 y 820 sí cuentan con un sistema de recarga sin cables, pero aún así necesitan de una superficie especial para recibir energía.

Ahora, Apple pretende apostar de lleno a esta tecnología, que promete cumplir el sueño de todo usuario de gadgets, de no tener que depender de cables o quedarse sin carga en el momento que más se la necesita.

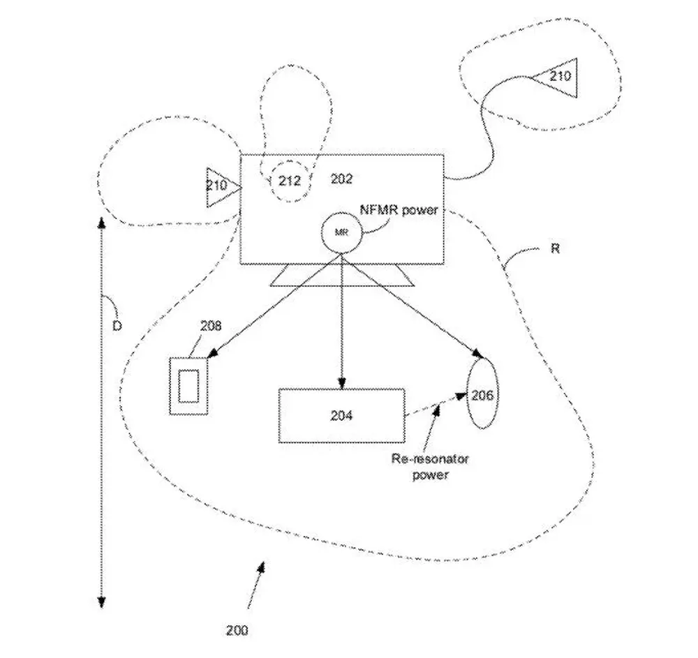
Según un pedido de patentes de la compañía de Cupertino aceptada el 29 de noviembre en Estados Unidos, el próximo paso es la "Utilización de energía inalámbrica en un ambiente informático local". Según el documento, los dispositivos se cargarían mediante un campo cercano de resonancia magnética (NFMR, por sus siglas en inglés).

Más noticias
Los creadores explican que "por campo cercano se entiende que dentro de una distancia unas cuantas veces más grande que aquella de los dos objetos involucrados en la trasnferencia, una cantidad relativamente grande de energía (al menos en el orden de unos cuantos watts) puede ser trasnferida mediante una fuente inalámbrica y un receptor con una eficiencia aceptable".

Así, en un radio de uno a dos metros, los aparatos compatibles con el sistema podrán recibir energía. ¿Estará el próximo iPhone libre de cables?

EO Clips

Te Puede Interesar

Más noticias de Argentina

Más noticias de España

Más noticias de Estados Unidos