23 de marzo 2015 - 14:51hs

Google registró una patente que anticipa los planes de la empresa en el ámbito de la tecnología wearable y los dispositivos médicos.

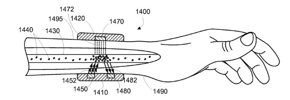
La solicitud de patente describe una correa montada en el brazo inferior, con una apariencia similar a un reloj o pulsera inteligente. Su función sería la de dirigir nanopartículas sintéticas al torrente sanguíneo para analizar la existencia de irregularidades en el cuerpo del paciente que pueden tener un efecto adverso para su salud, en particular, por cáncer.

Esto se lograría mediante la transmisión de energía en los vasos sanguíneos para estimular las células y las moléculas, aumentando su eficacia en la lucha contra las enfermedades.

Más noticias
Además de sus capacidades para el tratamiento físico, estas nanopartículas podrían generar grandes cantidades de datos: desde la sensación de frío o cansancio hasta la de estrés. Esta información puede ser utilizada para complementar otros parámetros fisiológicos que contribuyan al diagnóstico y control de la enfermedad.

Para hacer viable el tratamiento, la pulsera trabajaría en conjunción con una píldora de nanopartículas de óxido de hierro. Según informó el diario ABC, las nanopartículas estarán diseñadas para unirse selectivamente o reconocer las moléculas específicas. De esta forma, las nanopartículas "pintarían" las células con el óxido de hierro. Por ejemplo, podrían adherirse a las proteínas que favorecen el desarrollo de la enfermedad de Parkinson.

Por el momento, esta suerte de pulsera es solo una patente; no se ha informado de la existencia de ningún prototipo.

Temas:

Cáncer enfermedas Google Salud Recomendadas

Seguí leyendo

EO Clips

Te Puede Interesar

Más noticias de Argentina

Más noticias de España

Más noticias de Estados Unidos